Доставка и оплата
О магазине
Услуги
Новости и статьи
Контакты
8 (800) 575-57-75
/ c 09:00 до 18:00
Каталог товаров
Инструмент и садовая техника
Дом и ремонт
Компьютерная техника
Телевизоры и видеотехника
Детские товары и игрушки
Климатическая техника
Бытовая техника
Туризм и рыбалка
Ремонт и отделочные материалы
Освещение и электрика
Мебель
Спорт и активный отдых
Зоотовары
Товары для дома
Офис и канцелярия
Электроинструмент
Пилы
Дрели, шуруповерты
Биты и торцевые головки
Перфораторы
Отбойные молотки
Миксеры строительные
Шлифовальные машины
Электролобзики
Многофункциональный инструмент
Электрорубанки
Строительные фены
Паяльники
Строительные степлеры
Оборудование и станки
Генераторы
Стабилизаторы напряжения
ИБП
Металлоискатели
Сварочные аппараты
Маски сварочные
Компрессоры
Двигатели
Точильно-шлифовальные станки
Сверлильные станки
Мультиметры и вольтметры
Тали и лебедки
Садовая техника
Снегоуборщики
Лестницы и стремянки
Системы водоснабжения
Системы очистки воды
Насосы и канализационные установки
Модули для установки санфаянса
Расширительные баки и гидроаккумуляторы
Предохранительная арматура
Сантехника
Кухонные мойки
Полотенцесушители
Ванны
Душевые кабины
Унитазы
Писсуары
Инсталляции для туалета
Мебель для ванной
Ноутбуки и аксессуары
Ноутбуки
Сумки для ноутбуков
Powerbank аккумуляторы
Подставки для ноутбуков
Мониторы
Комплектующие
Материнские платы
Процессоры
Видеокарты
Оперативная память
Жесткие диски
SSD накопители
Звуковые карты
Оптические приводы
Корпуса
Блоки питания
Системы охлаждения
RAID и PCI контроллеры
Сетевое оборудование
Wi-Fi оборудование
3G / LTE модемы
Антенны для Wi-Fi и 3G
Powerline адаптеры
Умные розетки
NAS сервера
Маршрутизаторы
Коммутаторы
LCD телевизоры
Подставки и крепления
Медиаплееры
ТВ тюнеры
ТВ антенны
3D очки
Очки виртуальной реальности
Проекционное оборудование
Проекторы
Проекционные экраны
Крепления для проекторов
Видеокамеры и аксессуары
Видеокамеры
Карты памяти
Сумки для камер
Action камеры
Стедикамы
Видеорегистраторы
Штативы
DVD/Blu-ray плееры
Активный отдых и улица
Детские велосипеды
Роликовые коньки
Гироборды и моноколеса
Самокаты
Скейтборды
Детские электромобили
Каталки
Веломобили
Санки
Горки
Качели и качалки
Батуты
Надувные бассейны
Каркасные бассейны
Игровые и спортивные площадки
Школьные товары
Школьные рюкзаки и ранцы
Ручки
Карандаши
Прогулки и детская комната
Коляски
Кроватки
Детские автокресла
Детские велокресла
Стульчики для кормления
Манежи
Умные часы и браслеты
Пеленальные столики
Слинги и кенгуру
Кресла-качалки
Радионяни
Ходунки
Настольные лампы
Игрушки и развлечения
Куклы
Конструкторы
Сборные модели (моделирование)
Автотреки и железные дороги
Мобили
3D ручки
Кормление и гигиена
Подгузники
Соски и пустышки
Бутылочки и поилки
Стерилизаторы и подогреватели
Молокоотсосы
Радиоуправляемые модели
Радиоуправляемые машины
Квадрокоптеры
Радиоуправляемые вертолеты
Радиоуправляемые самолеты
Радиоуправляемые катера
Танки на радиоуправлении
Кондиционеры и вентиляция
Кондиционеры
Увлажнители и очистители воздуха
Осушители
Системы промышленного кондиционирования
Умный дом
Вентиляция
Отопительное оборудование
Обогреватели
Камины
Теплые полы электрические
Тепловые пушки и теплогенераторы
Монтажные комплекты для радиаторов отопления
Радиаторы отопления
Полотенцесушители
Внутрипольные конвекторы отопления
Тепловые завесы и водяные тепловентиляторы
Арматура для систем отопления и водоснабжения
Водонагреватели и котлы
Водонагреватели
Котлы отопления
Системы антиобледенения
Крупная бытовая техника
Встраиваемая техника
Стиральные машины
Сушильные машины
Холодильники
Морозильные камеры
Винные шкафы
Вытяжки
Плиты
Посудомоечные машины
Мелкая бытовая техника
Микроволновые печи
Электродуховки
Пылесосы
Уборочные машины
Пароочистители
Водонагреватели
Кулеры и пурифайеры
Швейные машины, оверлоки
Мелкая бытовая техника
Кухня
Бытовые приборы для дома
Красота и гигиена
Туризм
Компасы
Треккинговые палки
Миски и тарелки
Рации
Газовые баллоны
Бинокли и монокуляры
Термосы
Спальные мешки
Рюкзаки
Палатки
Надувные матрасы
Ножи и мультитулы
Пневматика и оружие
Одежда для охоты
Прочее
Рогатки
Стрелы для луков и арбалетов
Арбалеты
Луки
Дальномеры для охоты
Мишени и пулеулавливатели
Очки и наушники для стрельбы
Приклады и рукоятки
Крепления и планки
Сейфы
Чехлы и патронташи
Чистка оружия
Подсумки
Баллончики для пневматики
Прицелы
Пневматические винтовки
Приборы ночного видения
Подзорные трубы
Пневматические пистолеты
Пули и патроны
Отдых и кемпинг
Дачные умывальники и души
Биотуалеты
Гамаки
Садовые качели
Надувные бассейны
Шампура и решетки гриль
Аккумуляторы холода
Наборы для пикника
Мангалы и барбекю
Термосумки
Рыбалка
Одежда для рыбалки
Ружья для подводной охоты
Рыболовные буры и ледорубы
Эхолоты и картплоттеры
Садки и подсаки
Подставки для удочек
Сигнализаторы поклевки
Грузила и кормушки
Леска и шнуры
Блесны и воблеры
Удилища
Катушки
Съемка отдыха и блоги (Youtube)
Аксессуары для action камер
Штативы
Чемоданы
Микрофоны
Кабели видео, аудио, USB
Наушники
Портативные колонки
Крепления для action камер
Аксессуары для стабилизаторов
Кольцевые лампы для блогеров
Стедикамы
Селфи штативы (selfie stick)
Action камеры
Межкомнатные двери
Входные двери
Монтажная пена
Грунтовки
Штукатурки
Шпаклевки
Хомуты и стяжки
Плинтусы
Виниловые полы (ПВХ плитка)
Герметики и жидкие гвозди
Лаки и лазури
Краски и эмали
Дверные петли
Дверные замки
Ламинат и паркетная доска
Прочее для ремонта
Лестницы и стремянки
Дверные ручки
Гвозди, шурупы, крепеж
Пробковое покрытие
Ковролин
Линолеум
Обои
Затирка швов
Плитка
ЛАТРы
Контакторы, импульсные реле, расцепители
Преобразователи и трансформаторы
Таймеры и реле времени
Автоматические выключатели
LED ленты
Умные розетки
Реле напряжения
Прочие электротовары
Розетки
Точечные светильники
Сетевые фильтры и удлинители
Выключатели
Лампочки
Люстры и светильники
Рамки для розеток и выключателей
Стабилизаторы напряжения
Солнечные панели
Щитки электрические
Тройники и колодки электрические
Клещи для обжимки и зачистки
Счетчики электроэнергии
Провод и кабель
Детекторы проводки
Мультиметры
Настольные лампы
Прожекторы и светильники
Кресла-качалки
Пуфы и банкетки
Кухонные уголки
Обеденные столы
Садовая мебель
Кухни
Гостиные (стенки)
Полки настенные
Бескаркасная мебель
Комоды
Стеллажи и витрины
Чехлы на мебель
Прочая мебель
Шкафы
Фурнитура
Сейфы
Подставки и крепления
Надувная мебель
Пляжные и садовые зонты
Туалетные столики и трюмо
Подставки и тумбы для обуви
Тумбы
Вешалки для одежды
Прихожие
Каркасы для кровати
Спальни
Журнальные столики
Кровати
Офисные столы
Диваны и кресла
Матрасы
Компьютерные кресла
Садовые качели
Стулья
Прочие спорттовары
Водные виды спорта
Аквафитнесс
Спасательные жилеты
Гидрокостюмы
Аксессуары для дайвинга
Байдарки и каноэ
Прочее для плавания
Доски и лопатки
Ласты
SUP-борды
Шапочки для плавания
Плавки и купальники
Водные лыжи и доски
Маски и трубки
Очки для плавания
Активный отдых и транспорт
Велонасосы
Велосипедные камеры
Прочее для активного отдыха
Велозапчасти и аксессуары
Санки
Велоперчатки
Велосумки и крепления для фляг
Шлемы велосипедные
Электромобили и электроскутеры
Защита для роликов
Велопокрышки
Детские велокресла
Велозамки и блокираторы
Велосипеды
Роликовые коньки
Скейтборды
Самокаты
Гироборды и моноколеса
Детские велосипеды
Велокомпьютеры и спидометры
Велофонари
Тренажеры и аэробика
Прочие тренажеры и аксессуары
Электростимуляторы
Инверсионные столы
Перчатки для фитнеса
Утяжелители
Эспандеры
Гимнастические маты
Бодибары
Гимнастические обручи
Балансировочные борды и платформы
Степ-платформы
Скакалки
Ролики для пресса
Все для йоги
TRX и кроссфит
Атлетические пояса
Стойки для гантелей
Упоры для отжиманий
Штанги и гантели
Гребные тренажеры
Степперы
Силовые скамьи и стойки
Шведские стенки
Турники и брусья
Игровые и спортивные площадки
Вибротренажеры
Мячи для фитнеса и фитболы
Беговые дорожки
Орбитреки
Велотренажеры
Силовые тренажеры
Игровые виды спорта
Дартс
Бейсбольные биты
Бильярдные столы
Прочий инвентарь
Гандбольные мячи
Бильярдные кии
Баскетбольные кольца (корзины)
Баскетбольные мячи
Сетки волейбольные
Волейбольные мячи
Футбольные щитки
Футбольная форма
Вратарские перчатки
Футбольные мячи
Бадминтон
Аксессуары для тенниса и сквоша
Мячи для тенниса и сквоша
Накладки для ракеток
Сетки для настольного тенниса
Мячи для настольного тенниса
Ракетки для настольного тенниса
Теннисные столы
Ракетки для большого тенниса
Спортивное питание
Прочее спортивное питание
Предтренировочные комплексы
Спортивные шейкеры
Стимуляторы тестостерона
Витамины и минералы
Креатин
Гейнеры
Аминокислоты
Сжигатели жира
Протеины
Зимние виды спорта
Прочее для зимнего спорта
Хоккейная экипировка
Хоккейные клюшки
Чехлы для лыж и бордов
Лыжная одежда
Лыжные палки
Лыжные крепления
Горнолыжные маски
Лыжные ботинки
Термобелье
Горнолыжные шлемы
Лыжи
Коньки
Сноуборды
Съемка отдыха и блоги (Youtube)
Чемоданы
Штативы
Наушники
Кабели видео, аудио, USB
Крепления для action камер
Аксессуары для стабилизаторов
Аксессуары для action камер
Портативные колонки
Микрофоны
Фонарики
Кольцевые лампы для блогеров
Селфи штативы (selfie stick)
Стедикамы
Action камеры
Единоборства
Прочее для единоборств
Борцовки и боксерки
Лапы и макивары
Бандажи и корсеты
Секундомеры
Защита для единоборств
Одежда для единоборств
Боксерские груши
Перчатки для единоборств
Грызуны
Наполнители для грызунов
Клетки и домики для грызунов
Корм для грызунов
Витамины для грызунов
Попугаи и птицы
Игрушки для птиц
Кормушки и поилки
Клетки для птиц
Корм для птиц
Для собак
Лежаки (места) для собак
Намордники
Игрушки для собак
Одежда для собак
Ошейники и шлейки
Корм для собак
Аквариумы и рыбки
Прочее для аквариумов
Тумбы для аквариумов
Декорации для аквариумов
Грунт для аквариумов и террариумов
Светильники для аквариумов
Обогреватели для аквариумов
Фильтры для аквариумов
Кормушки для рыб и рептилий
Корм для рептилий
Террариумы
Аквариумные компрессоры и помпы
Корм для рыб
Аквариумы
Для котов и кошек
Щетки для шерсти и пуходерки
Когтерезы
Кошачий наполнитель
Переноски и клетки
Миски для корма
Когтеточки для кошек
Корм для кошек
Прочие зоотовары
Бытовая химия и уборка
Средства для стекол и зеркал
Средства для плит и кухни
Средства для полов и кафеля
Средства для ванн и туалета
Профилактика бытовой техники
Средства для ковров и мебели
Прочая бытовая химия
Мусорные ведра
Средства для прочистки труб
Ароматизаторы и ополаскиватели
Освежители воздуха
Отбеливатели и пятновыводители
Универсальные моющие средства
Прочее для стирки
Ручное мытье посуды
Стиральный порошок
Таблетки и средства для посудомойки
Инвентарь для уборки
Посуда и приборы
Прочая посуда
Барная посуда
Столовая посуда
Ножи и столовые приборы
Кухонные принадлежности
Кухонная посуда
Текстиль
Прочий текстиль
Халаты
Покрывала
Скатерти и салфетки
Наволочки
Полотенца
Пледы
Подушки
Одеяла
Ковры
Наматрасники и подматрасники
Шторы, гардины и тюли
Постельное белье
Матрасы
Блокноты
Ежедневники
Главная
Каталог товаров
Дом и ремонт
Сантехника
Ванны
Душевые кабины
Инсталляции для туалета
Кухонные мойки
Мебель для ванной
Писсуары
Полотенцесушители
Унитазы
Найдено:
Показать
Розничная цена
-
Бренд
Jika
TECE
Akva Rodos
Alca Plast
Alex Baitler
Alpen
Alvaro Banos
Alveus
AM-PM
Appollo
Aqualife
Aqualife Design
Aqualux
AQUANET
Aquaton
AQWELLA
Arcus
ArtCeram
Banff
BAS
BelBagno
BellRado
Betanox
Bette
Blanco
BLB
Bricklaer
Catalano
Cersanit
Creavit
Della
Deto
Dr. Gans
Dreja
Duravit
Energy
Erlit
Esbano
Fiinn
Florentina
Frank
Franke
Fresh
Geberit
GranFest
Granula
Grohe
Grossman
Grota
GSI ceramica
Gustavsberg
Harte
Hatria
IDDIS
Ideal Standard
Ido
Ifo
Jacob Delafon
Kaldewei
Keramag
KERASAN
Kolpa San
Laguraty
Laufen
Lex
Longran
Luxus
MEPA
Migliore
NIAGARA
Nika
Olympia
Omoikiri
Orans
Oulin
Parly
Pegas
Polar
Polygran
Radomir
Ravak
Reginox
RIHO
River
Roca
Rosa
Royal Bath
Sanita
Sanita Luxe
Santek
Santeri
Seaman
Simas
Smeg
Sunerzha
Teka
Tera
Terminus
TermoSmart
Timo
Triton
Ukinox
Ulgran
Velvex
Vidima
Viega
Vigo
Villeroy & Boch
Vitra
Wisa
Zigmund&Shtain
Zorg
Показать всё
Показать товары
Очистить фильтр
По популярности
По новизне
Сначала подешевле
Сначала подороже
4 321 руб.
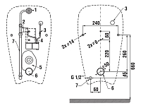
Писсуар Jika Golem 843060
В наличии
3 932 руб.
Писсуар Jika Korint 844100
В наличии
3 852 руб.
4 815 руб.
Писсуар Jika Livo 840201
В наличии
-20%
3 905 руб.
Писсуар Jika Golem 843070
В наличии
4 317 руб.
Писсуар Jika Golem 843061
В наличии
5 258 руб.
Писсуар Jika Domino 841100
В наличии
Хит продаж
Новинка
2 038 руб.
3 135 руб.
Унитаз Jika Lyra 824236
В наличии
-35%
2 824 руб.
4 345 руб.
Унитаз Jika Lyra Baltic 824286
В наличии
-35%
3 396 руб.
5 225 руб.
Унитаз Jika Olymp 822616
В наличии
-35%
10 255 руб.
Унитаз Jika Mio 824716
В наличии
3 190 руб.
Унитаз Jika Zeta 825396
В наличии